Please wait a minute...
Journal of ZheJiang University (Engineering Science)  2026, Vol. 60 Issue (1): 199-207    DOI: 10.3785/j.issn.1008-973X.2026.01.019
    
Experimental study on pre-tightening force of ring groove rivets in steel truss beam’s splicing joints
Kun WANG1(),Yongjian LIU1,2,*(),Taike ZHANG3,Gaoyan CUI1,Fengchao GUO3,Zhenbei LIU1,Wenjie MA1
1. School of Highway, Chang’an University, Xi’an 710064, China
2. School of Civil Engineering, Chongqing University, Chongqing 400045, China
3. Guangdong Bay Area Transportation Construction Investment Co. Ltd, Guangzhou 511462, China
Download: HTML     PDF(2716KB) HTML
Export: BibTeX | EndNote (RIS)      

Abstract  

Monitoring tests on the pre-tightening force of ring groove rivets during the full-scale node riveting process were conducted by taking a steel truss suspension bridge as the supporting project to study the influencing factors of the pre-tightening force in the riveting process and evaluate the stability of the pre-tightening force of the ring groove rivets in the steel truss beam’s splicing joints. The results showed that the ring groove rivets were suitable for riveting from a joint area with high stiffness to a joint area with low stiffness. The pre-tightening force of the tested T27 rivets of grade 10.9 after riveting met the requirements for ring groove rivets and was better than that of high-strength bolts of the same specification. The pre-tightening force of the rivets on the thicker bottom plate changed more than that on the top plate during riveting, and the degree of relaxation was slightly higher. The pre-tightening force change of the rivets on the web plate with higher constraint was also larger than that on the joint plate. A 48-hour post-riveting monitoring test was carried out on the chord web. The results showed that the pre-tightening force attenuation of rivets within 30 h after riveting accounted for 89.6% of the total attenuation, and the fluctuation range of the pre-tightening force thereafter was within 1.3% of the initial pre-tightening force value, indicating that the loss of pre-tightening force after riveting was small, and the force gradually tended to be stable and uniform.



Key wordssteel truss bridge      ring groove rivet      full-scale model test      splicing joint      pre-tightening force     
Received: 04 November 2024      Published: 15 December 2025
CLC:  U 443  
Fund:  广东省交通集团重点研发项目(JT2023ZD01-01).
Corresponding Authors: Yongjian LIU     E-mail: 785905250@qq.com;liuyongjian@chd.edu.cn
Cite this article:

Kun WANG,Yongjian LIU,Taike ZHANG,Gaoyan CUI,Fengchao GUO,Zhenbei LIU,Wenjie MA. Experimental study on pre-tightening force of ring groove rivets in steel truss beam’s splicing joints. Journal of ZheJiang University (Engineering Science), 2026, 60(1): 199-207.

URL:

https://www.zjujournals.com/eng/10.3785/j.issn.1008-973X.2026.01.019     OR     https://www.zjujournals.com/eng/Y2026/V60/I1/199


钢桁梁拼接节点中环槽铆钉预紧力试验研究

为了研究施铆过程中环槽铆钉预紧力的影响因素,评估钢桁梁拼接节点中环槽铆钉预紧力的稳定性,以钢桁梁悬索桥为依托工程,开展足尺节点施铆过程的铆钉预紧力监测试验. 结果表明,环槽铆钉在从刚度大的接头区域向刚度小的接头区域铆接时,适用性较好;测试的10.9级T27铆钉的铆后预紧力满足环槽铆钉预紧力要求,且优于同规格高强度螺栓;铆接过程中厚度更大的底板上的铆钉预紧力变化量比顶板有所增加,且预紧力松弛程度稍大;约束程度更高的腹板上的铆钉预紧力变化量比节点板更大. 对弦杆腹板进行铆接后48 h监测试验,结果显示铆接完成后30 h内铆钉预紧力衰减量占总衰减量的89.6%,此后预紧力的波动小于1.3%的初始值,表明环槽铆钉铆后预紧力损失较小,且逐渐趋于稳定、统一.


关键词: 钢桁梁桥,  环槽铆钉,  足尺模型试验,  拼接节点,  预紧力 
Fig.1 Standard cross-section of stiffening beam of steel truss cable-stayed bridge
Fig.2 Standard section of stiffening beam of steel truss cable-stayed bridge
Fig.3 Splicing construction of chord in full-scale model test
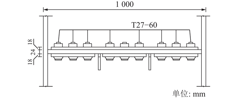
Fig.4 Layout of test rivets on each connection surface
位置铆钉型号d1/mmd2/mm
节点板LMDSM-T27-652820
弦杆腹板LMDSM-T27-652820
弦杆顶板LMDSM-T27-602418
弦杆底板LMDSM-T27-602420
Tab.1 Structural parameters of riveted connection areas
Fig.5 Layout of testing areas on shank of ring groove rivet
Fig.6 Layout and riveting sequence of test rivets on each connecting surface
P/kNnFNnTCnBCnJNR/%
[330, 340)612131226.7
[340, 350)121320933.5
[350, 360)14811825.5
[360, 370)32379.3
[370, 380)11335.0
Tab.2 Pre-tightening force distribution of test rivets on each connecting surface
Fig.7 Variation trend of rivets’ pre-tightening force in different regions during riveting process
Fig.8 Splicing structure of chord top plate
Fig.9 Splicing structure of chord bottom plate
Fig.10 Comparison of rivets’ pre-tightening force in different areas of chord top and bottom plates
测试区域ΔPmax/kNRP,max/%ΔParea/kN
群铆中心20.555.514.00
象限中心11.643.202.33
群铆边缘4.611.280.46
Tab.3 Changes in pre-tightening force of rivets in different areas of top plate
测试区域ΔPmax /kNRmax /%ΔParea /kN
群铆中心24.306.936.11
象限中心18.905.012.76
群铆边缘14.323.813.09
Tab.4 Changes in pre-tightening force of rivets in different areas of bottom plate
Fig.11 Comparison of rivets’ pre-tightening force on chord web and joint plates
Fig.12 Variation curve of rivets’ pre-tightening force on web plate in natural environment
Fig.13 Relationship between pre-tightening force variation of rivets and temperature variation
[1]   刘永健, 刘剑, 刘君平, 等 刚性悬索加劲钢桁梁桥施工阶段全桥模型试验研究[J]. 土木工程学报, 2010, 43 (2): 72- 78
LIU Yongjian, LIU Jian, LIU Junping, et al Integral model test of steel truss bridge stiffened with rigid cables in construction stage[J]. China Civil Engineering Journal, 2010, 43 (2): 72- 78
[2]   于丰菘, 周洪福, 姜磊, 等 钢桁桥节点构造演变及其疲劳评估热点应力法[J]. 公路交通科技, 2023, 40 (6): 126- 139
YU Fengsong, ZHOU Hongfu, JIANG Lei, et al Joint structure evolution and a hot stress method for assessing fatigue of steel truss bridge[J]. Journal of Highway and Transportation Research and Development, 2023, 40 (6): 126- 139
doi: 10.3969/j.issn.1002-0268.2023.06.017
[3]   JASPART J P General report: session on connections[J]. Journal of Constructional Steel Research, 2000, 55 (1/2/3): 69- 89
[4]   MOTALEB M, LINDQUIST W, IBRAHIM A, et al Repair assessment for distortion-induced fatigue cracks in a seismically retrofitted double-deck bridge complex[J]. Engineering Structures, 2019, 183: 124- 134
doi: 10.1016/j.engstruct.2019.01.004
[5]   ALAMPALLI S, LUND R Estimating fatigue life of bridge components using measured strains[J]. Journal of Bridge Engineering, 2006, 11 (6): 725- 736
doi: 10.1061/(ASCE)1084-0702(2006)11:6(725)
[6]   YU Q, YANG X, ZHOU H An experimental study on the relationship between torque and preload of threaded connections[J]. Advances in Mechanical Engineering, 2018, 10 (8): 1- 10
[7]   SALEM H M, HELMY H M Numerical investigation of collapse of the Minnesota I-35W bridge[J]. Engineering Structures, 2014, 59: 635- 645
[8]   GLIENKE R, SCHWARZ M, EBERT A, et al Joints with lockbolts in steel structures–part 1: lockbolt technology[J]. Steel Construction, 2020, 13 (2): 120- 127
doi: 10.1002/stco.202000011
[9]   易志宏, 刘浪, 田波, 等 环槽铆钉在公路桥梁中应用的试验研究[J]. 公路, 2022, 67 (1): 104- 108
YI Zhihong, LIU Lang, TIAN Bo, et al Practice study of ring groove rivets in highway bridges[J]. Highway, 2022, 67 (1): 104- 108
[10]   范重, 杨苏, 栾海强 空间结构节点设计研究进展与实践[J]. 建筑结构学报, 2011, 32 (12): 1- 15
FAN Zhong, YANG Su, LUAN Haiqiang Research progress and practice of design of spatial structure joints[J]. Journal of Building Structures, 2011, 32 (12): 1- 15
[11]   刘昌永, 吴欣荣, 王玉银, 等 多向拉压整体式钢桁梁节点静力试验研究[J]. 建筑结构学报, 2015, 36 (S1): 131- 137
LIU Changyong, WU Xinrong, WANG Yuyin, et al Model test on an integral joint of steel struss bridge subjected to multi-directional loadings[J]. Journal of Building Structures, 2015, 36 (S1): 131- 137
[12]   刘永健, 赵瑞, 姜磊, 等 矩形钢管K型节点复合型应力强度因子计算方法研究[J]. 工程力学, 2023, 40 (5): 182- 194
LIU Yongjian, ZHAO Rui, JIANG Lei, et al Study on calculation method for equivalent stress intensity factor of rectangular hollow section K-joints[J]. Engineering Mechanics, 2023, 40 (5): 182- 194
doi: 10.6052/j.issn.1000-4750.2021.10.0839
[13]   姜磊, 刘永健, 龙辛, 等 矩形钢管混凝土桁架节点应力集中特性试验研究[J]. 建筑结构学报, 2022, 43 (2): 184- 196
JIANG Lei, LIU Yongjian, LONG Xin, et al Experimental study on stress concentration characteristics of joints in concrete-filled rectangular steel tubular truss[J]. Journal of Building Structures, 2022, 43 (2): 184- 196
[14]   KIYOKAWA S, TATEISHI K, HANJI T, et al Slip coefficient and ultimate strength of high-strength bolted friction joints with compact bolt spacing and edge distance[J]. International Journal of Steel Structures, 2019, 19 (4): 1191- 1201
doi: 10.1007/s13296-018-0199-3
[15]   LYU Y F, LI G Q, WANG Y B, et al Bearing behavior of multi-bolt high strength steel connections[J]. Engineering Structures, 2020, 212: 110510
doi: 10.1016/j.engstruct.2020.110510
[16]   XUE X, LIN S, GUO Z, et al Mechanical behavior of loose high-strength bolted connections with thin sheet steels[J]. Thin-Walled Structures, 2021, 168: 108281
doi: 10.1016/j.tws.2021.108281
[17]   LIU Z, ZHENG M, YAN X, et al Changing behavior of friction coefficient for high strength bolts during repeated tightening[J]. Tribology International, 2020, 151: 106486
doi: 10.1016/j.triboint.2020.106486
[18]   KONG Q, LI Y, WANG S, et al The influence of high-strength bolt preload loss on structural mechanical properties[J]. Engineering Structures, 2022, 271: 114955
[19]   AHN J H, LEE J M, CHEUNG J H, et al Clamping force loss of high-strength bolts as a result of bolt head corrosion damage: experimental research A[J]. Engineering Failure Analysis, 2016, 59: 509- 525
doi: 10.1016/j.engfailanal.2015.08.037
[20]   戴润达, 于红杰, 付常谊, 等 环槽铆钉连接副抗腐蚀性能及夹紧力群铆试验研究[J]. 世界桥梁, 2023, 51 (2): 76- 81
DAI Runda, YU Hongjie, FU Changyi, et al Experimental study of corrosion resistance and clamping force of ring grooved rivet connection pair[J]. World Bridges, 2023, 51 (2): 76- 81
[21]   WANG Z, WANG Y, ZHANG Y, et al Experimental investigation and design of extruded aluminium alloy T-stubs connected by swage-locking pins[J]. Engineering Structures, 2019, 200: 109675
doi: 10.1016/j.engstruct.2019.109675
[22]   WANG Z, WANG Y, YUN X, et al Numerical modelling of extruded aluminium alloy T-stubs connected by swage-locking pins: FE validation and parametric study[J]. Thin-Walled Structures, 2020, 155: 106926
doi: 10.1016/j.tws.2020.106926
[23]   WANG Y, WANG Z, YIN F, et al Experimental study and finite element analysis on the local buckling behavior of aluminium alloy beams under concentrated loads[J]. Thin-Walled Structures, 2016, 105: 44- 56
doi: 10.1016/j.tws.2016.04.003
[24]   CHEN W, DENG H, DONG S, et al Numerical modelling of lockbolted lap connections for aluminium alloy plates[J]. Thin-Walled Structures, 2018, 130: 1- 11
doi: 10.1016/j.tws.2018.04.010
[25]   张天雄, 王元清, 陈志华, 等 高强度不锈钢短尾环槽铆钉力学性能试验研究[J]. 工程力学, 2021, 38 (S1): 151- 158
ZHANG Tianxiong, WANG Yuanqing, CHEN Zhihua, et al Experimental study on the mechanical properties of high strength stainless steel short tail swage-locking pins[J]. Engineering Mechanics, 2021, 38 (S1): 151- 158
doi: 10.6052/j.issn.1000-4750.2020.05.S027
[26]   邓华, 陈伟刚, 白光波, 等 铝合金板件环槽铆钉搭接连接受剪性能试验研究[J]. 建筑结构学报, 2016, 37 (1): 143- 149
DENG Hua, CHEN Weigang, BAI Guangbo, et al Experimental study on shearing behavior of lockbolted lap connection for aluminum alloy plates[J]. Journal of Building Structures, 2016, 37 (1): 143- 149
[27]   王金锁, 张钦, 徐玉波, 等. 螺栓与环槽铆钉的抗剪性能对比试验研究[J/OL]. 工业建筑, 2023: 1–12. (2023-12-15). https://kns.cnki.net/kcms/detail/11.2068.TU.20231215.1024.002.html.
WANG Jinsuo, ZHANG Qin, XU Yubo, et al. Comparative experimental study on shear performance of bolts and ring-groove rivets [J/OL]. Industrial Construction, 2023: 1–12. (2023-12-15). https://kns.cnki.net/kcms/detail/11.2068.TU.20231215.1024.002.html.
[28]   徐菲, 陆一安, 周绪红, 等 高强度环槽铆钉ML40Cr材料单轴拉伸及低周疲劳性能研究[J]. 建筑结构学报, 2024, 45 (10): 217- 228
XU Fei, LU Yian, ZHOU Xuhong, et al Uniaxial tensile and low-cycle fatigue performance of high-strength lockbolt ML40Cr materials[J]. Journal of Building Structures, 2024, 45 (10): 217- 228
[29]   王中兴, 韩晔声, 孙健婕, 等. 高温下拉断型环槽铆钉力学性能试验研究[J/OL]. 土木工程学报, 2024: 1–13. (2024-05-27) [2024-11-25]. https://link.cnki.net/doi/10.15951/j.tmgcxb.24020162.
WANG Zhongxing, HAN Yesheng, SUN Jianjie, et al. Experimental investigation into the mechanical behavior of SLP utilizing separating pintails at elevated temperatures [J/OL]. China Civil Engineering Journal, 2024: 1–13. (2024-05-27) [2024-11-25]. https://link.cnki.net/doi /10.15951/j.tmgcxb.24020162.
[30]   中华人民共和国住房和城乡建设部. 钢结构刚强度螺栓链接技术规程: JGJ 82—2021 [S]. 北京: 中国建筑工业出版社, 2011: 32.
[31]   王贤强, 杨羿, 刘朵, 等 节点板高强螺栓预紧力松弛试验研究[J]. 钢结构, 2019, 34 (11): 40- 44
WANG Xianqiang, YANG Yi, LIU Duo, et al Experimental research on pre-tightening force relaxation of high-strength bolt in joint plate[J]. Steel Construction, 2019, 34 (11): 40- 44
[1] Tong XIAO,Ming-shan ZHANG,Ben-yue LI,Quan-biao XU,Shun-feng GONG. Experimental study on flexural performance of composite slab with groove splicing joint[J]. Journal of ZheJiang University (Engineering Science), 2023, 57(4): 842-854.